概述
YMJ型椰肉研磨機,是根據椰肉所特有的特點,研制的一種專用磨碎機,適用于椰子汁加工工藝中椰肉的粉碎;該機與椰肉接觸部分全部由304不銹鋼制作,符合食品衛生。
產品型號
結構特征與工作原理
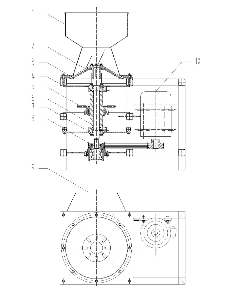
4.1結構:參照圖4-1椰肉磨漿機結構原理圖,該機主要由機架、進出料斗、齒刀、刀盤、軸承機構、傳動機構、電機等組成。
4.2工作原理:工作時電機經一對V帶輪、通過軸承架、軸承機構高速驅動刀盤高速旋轉,刀盤上裝有若干把齒刀片,齒刀由耐磨高硬度合金制造。椰肉自由落入進料斗,被高速旋轉的齒刀磨碎,磨碎后的物料由刀盤和刀盤蓋之間的間隙落入出料斗。實現磨碎功能。整體轉子總成制作有升降調節機構,可以調整刀盤與刀盤蓋之間的間隙,從而調整椰肉的磨細粒度。
圖4-2,椰肉研磨機結構原理圖
1、進料斗;2、齒刀片;3、刀盤;4、機架;5、轉子升降機構;6、軸承架;7、軸承;8、皮帶傳動機構;9、出料斗;10、電機
安裝、調整、操作與維護
4.1 機器必須安裝水平,并用地腳螺釘固定。
4.2操作:當設備啟動時,應調整好齒盤和齒刀蓋之間的間隙。
4.3進料必須均勻,嚴禁硬質異物進入料斗,以免損壞篩網。
4.4維護: 班中停車或換季閑置時,應對設備進行全面清洗,保持內外潔凈;
4.5定期對各潤滑點加潤滑油、脂。

當前位置:首頁 > 產品中心 > 去籽、去核系列 > YMJ型椰肉研磨機




